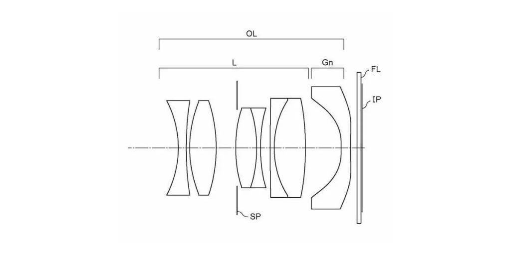
Появляется оптическая формула Canon 35mm f/1.2, а также 12mm f/1.2.

Canon RF 35mm f/1.2L USM был в нашей дорожной карте с тех пор, как она началась много лет назад. Можем ли мы, наконец, приблизиться к тому, чтобы объектив наконец появился? Патент определенно показывает полнокадровую оптическую формулу, но бэкфокус смехотворно короткий. Оптические формулы показывают «f/1,3», но если они попадут в реальный продукт, они, скорее всего, будут […]
Canon EOS R5 Mark II ближе к реальности, чем утверждает Canon

В интервью примерно во время обновления прошивки со сдвигом пикселей для Canon EOS R5 руководитель Canon заявил, что Canon даже не работает над продолжением EOS R5, что даже на первый взгляд выглядит глупо, потому что, конечно они есть и были в течение некоторого времени. Однако иногда при переводе теряется контекст. Мы также наблюдаем некоторые агрессивные […]
Adorama предлагает наборы Canon EOS R5 и Canon EOS R6 по агрессивным ценам.

Похоже, Canon ослабила правила MAP для розничных продавцов Canon EOS R5 и Canon EOS R6. Adorama предлагает несколько агрессивных комплектаций для обеих камер. Вы должны использовать код купона КАЮНЕДИЛ при оформлении заказа, чтобы увидеть цены со скидкой. Мы не уверены, как долго будут действовать эти скидки по кодам купонов, поэтому, если вы находитесь на рынке, […]
Полный комплект светодиодной подсветки Rotolight NEO 3 RGBWW для камеры — 399 долл. США (649 долл. США)

B&H Photo предлагает полный комплект светодиодной подсветки Rotolight NEO 3 On-Camera RGBWW в своей DealZone со скидкой 250 долларов! Основные характеристики Rotolight NEO Цветовая температура 3000–10 000 К Режим RGB для 16,7 миллионов цветов Непрерывная и вспышка как в CCT, так и в RGB Встроенный сенсорный ЖК-экран 14 режимов эффектов, 2500 цифровых фильтров Bluetooth и […]
How Bandoh, Yokohama ended seven-year SUPER GT win drought

Bandoh pair Yuji Kunimoto and Sena Sakaguchi finished second on the road when Sunday’s race was abandoned after a horrifying crash involving Nissan driver Tsugio Matsuda on lap 59 of 77, but were promoted to what many felt was a rightful win after a penalty for the NDDP Racing Nissan. Read Also: From second on […]
Blackmagic Design Pocket Cinema Camera 6K G2 $1495 (рег. $1995)

У B&H Photo есть камера Blackmagic Design Pocket Cinema Camera 6K G2 в зоне сделок за 1495 долларов (рег. 1995 долларов). Ключевая особенность Сенсор Super 35 HDR, 5-е поколение Color Science Крепление Canon Active EF, входы Mini XLR 5-дюймовый наклонный сенсорный ЖК-экран Не имеет внутренних фильтров нейтральной плотности Запись 6K 6144 x 3456 до 50 […]
В Aston Martin не переживают из-за провала на Гран При Испании

На Гран При Испании команда Aston Martin всего второй раз в сезоне-2023 осталась без подиума. Лэнс Стролл финишировал шестым, а Фернандо Алонсо и вовсе стал седьмым, впервые проиграв своему канадскому напарнику. Что пошло не так и неужели Aston Martin проиграла гонку вооружений Mercedes, которая двумя машинами попала на подиум и вышла на второе место в […]
2023 Formula 1 Spanish Grand Prix Race Photo

SPANISH FORMULA 1 GRAND PRIX 2023 / 01-04 JUNE PHOTO: DANIEL BALLARIN LOPEZ / ASPPAIMAGES REDACTOR: ALEKSANDR SEREGIN
Bautista completes another treble at Misano

After his win in the first race on Saturday, Bautista took his 13th and 14th victories of the season out of a possible 15 in the Superpole race and the second full-distance race of the weekend. It means the Spanish rider now has a mammoth 86 point lead in the standings approaching the halfway point […]